2000-2001 S3/S3T Thunderbolt Parts Catalog
2001
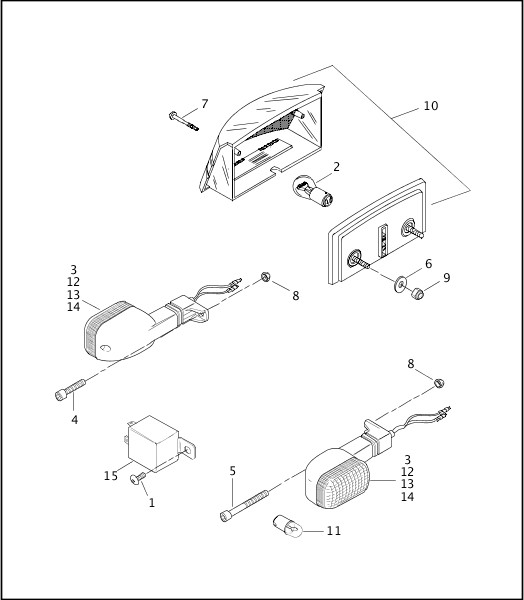
TAIL LAMP & TURN SIGNALS
| Index No. | Part No. | Description | Models | Obselete |
|---|---|---|---|---|
| 1 | 4365 | SCREW | ALL | |
| 2 | 68169-90A | BULB, tail lamp | ALL | |
| 3 | 68998-96Y | SCREW, lens, turn signal (2) | ALL | |
| 4 | AA0406.2CBBL | SCREW (2) | ALL | |
| 5 | AA0420.2CBBL | SCREW (2) | ALL | Feb 2010 |
| 6 | BA0416.1Z | WASHER (2) | ALL | |
| 7 | C0199.2 | SCREW, tail lamp lens mounting (2) | ALL | Jul 2012 |
| 8 | DA0400.3CZ | LOCKNUT (4) | ALL | |
| 9 | D0600.2CZ | LOCKNUT (2) | ALL | |
| 10 | Y0401.2QQ | TAIL LAMP ASSEMBLY, complete | ALL | Nov 2014 |
| 11 | Y0503B.8 | BULB, turn signal (4) | ALL | Feb 2010 |
| 12 | Y0503.9 | TURN SIGNAL ASSEMBLY, left front/right rear (2) | ALL | |
| 13 | Y0503A.9 | LENS, turn signal | ALL | |
| 14 | Y0504.9 | TURN SIGNAL ASSEMBLY, right front/left rear (2) | ALL | |
| 15 | Y0621.MD | FLASHER, turn signal | ALL |