2000-2001 S3/S3T Thunderbolt Parts Catalog
2001
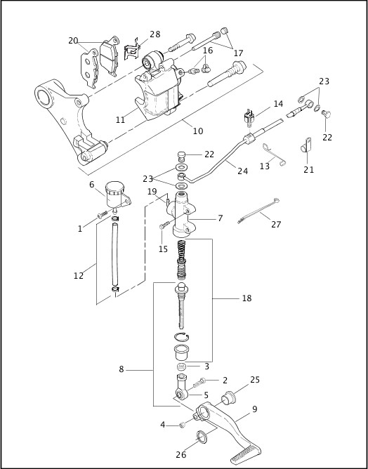
REAR BRAKE CONTROL & CALIPER
| Index No. | Part No. | Description | Models | Obselete |
|---|---|---|---|---|
| 1 | 923 | SCREW, reservoir | ALL | |
| 2 | 6183Y | BOLT | ALL | Feb 2010 |
| 3 | DA0400.4CZ | JAMNUT | ALL | Nov 2014 |
| 4 | D0800.2CZ | LOCKNUT | ALL | Nov 2014 |
| 5 | N0606.2 | ROD END, male | ALL | |
| 6 | H0206.R | RESERVOIR ASSEMBLY, master cylinder | ALL | Feb 2010 |
| 7 | H0205.R | MASTER CYLINDER ASSEMBLY, rear, w/ 3, 5, 6, 18 & 19 | ALL | Feb 2010 |
| H0205.F | MASTER CYLINDER, rear w/ 3, 5, 18 & 19 | ALL | Nov 2014 |
|
| 8 | 41823-98Y | ROD ASSEMBLY SET (does not include 2) | ALL | |
| 9 | N0501.MA | BRAKE PEDAL | ALL | Feb 2010 |
| 10 | 44087-98Y | REAR CALIPER ASSEMBLY, w/ brake pads spring | ALL | |
| 11 | H0030.F | REPAIR KIT, rear caliper (caliper piston, piston seal & dust seal) | ALL | |
| 12 | H0027.F | HOSE, reservoir, w/ 2 clamps | ALL | Nov 2014 |
| 13 | 45262-98Y | WIRE FORM, brake line to oil tank | ALL | |
| H0415.L | WIRE FORM, brake line to oil tank | ALL | ||
| 14 | 72023-51E | SWITCH, brake light | ALL | |
| 15 | A0622.21CBL | SCREW (2) | ALL | |
| 16 | H0022.F | BLEEDER FITTING, brake, w/ cap | ALL | |
| 17 | H0026.F | PIN HANGER SET | ALL | |
| 18 | H0040.F | PISTON SET, master cylinder | ALL | |
| 19 | H0041.F | ELBOW, master cylinder, rear, w/ circlip & O-ring | ALL | |
| 20 | H0301.F | BRAKE PAD SET, rear | ALL | |
| 21 | H0404.8 | CLAMP, brake line to swingarm & to frame (2) | ALL | |
| 22 | H0405.9B | BOLT (2) | ALL | |
| 23 | H0412.01A0 | GASKET (4) | ALL | |
| 24 | H0522.LB | BRAKE LINE, rear | ALL | Jan 2015 |
| 25 | N0513.2A | LEVER BUSHING | ALL | Nov 2014 |
| 26 | N0514.2 | THRUST WASHER | ALL | Nov 2014 |
| 27 | Y0303.2B | WIRE TIE, reservoir hose to brake line | ALL | |
| 28 | H0024.F | SPRING, brake pads | ALL |