1996-1997 Buell S1 Lightning Parts Catalog
1997
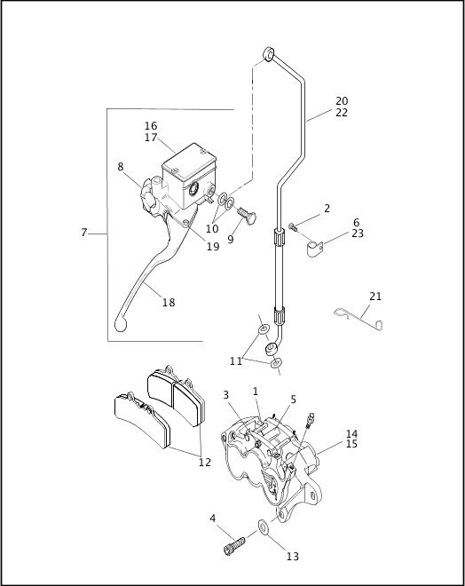
FRONT BRAKE CONTROL & CALIPER
| Index No. | Part No. | Description | Models | Obselete |
|---|---|---|---|---|
| 1 | H0112.8 | PIN, clevis (2) | ALL | Feb 2017 |
| 2 | 4365 | SCREW | ALL | |
| 3 | AA0416.2CBZ | SCREW | ALL | Nov 2014 |
| 4 | 861A | SCREW (2) | ALL | |
| 5 | H0113.8 | SPACER, pad (2) | ALL | Feb 2010 |
| 6 | 38642-96Y | CLAMP | ALL | |
| 7 | N0200.9 | MASTER CYLINDER ASSEMBLY, w/ lever, bracket & switch | ALL | |
| 8 | N0259.9 | CLAMP, front master cylinder | ALL | |
| 9 | H0405.9B | BOLT, master cylinder | ALL | |
| 10 | H0412.01A0 | GASKET, master cylinder (2) | ALL | |
| 11 | 41731-88A | GASKET, caliper (2) | ALL | |
| 12 | H0300.8A | BRAKE PAD SET, front | ALL | Nov 2014 |
| 13 | C0203.8 | CALIPER SHIM KIT, front | ALL | Feb 2010 |
| 14 | H1110.9 | FRONT CALIPER ASSEMBLY, w/ pads | ALL | Oct 2012 |
| 15 | H0020.0 | FRONT CALIPER REBUILD KIT | ALL | Nov 2014 |
| 16 | 45185-96Y | FRONT MASTER CYLINDER PISTON SET | ALL | |
| 17 | N0210.9 | MASTER CYLINDER COVER, w/ gasket | ALL | |
| 18 | N1202.9 | BRAKE CONTROL LEVER, front | ALL | |
| 19 | N0203.9 | PIVOT BOLT, front brake lever, w/ nut | ALL | |
| 20 | H0531.DB | BRAKE LINE, front | ALL | Nov 2014 |
| 21 | 67145-96Y | WIRE GUIDE, brake | ALL | |
| 22 | H0531.B | BRAKE LINE, front | S1 1997 | Feb 2010 |
| 23 | C0901.C | CLAMP, front brake line | S1 1997 | Nov 2014 |