1995-1996 Buell S2/S2T Thunderbolt Parts Catalog
1996
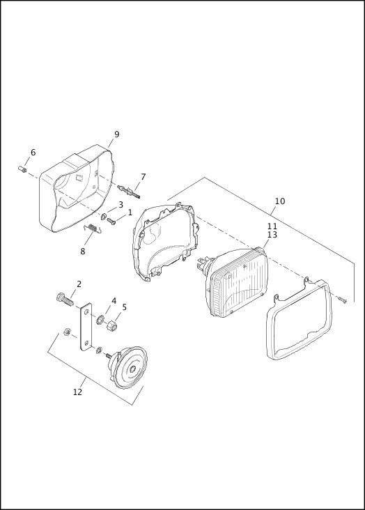
HEADLAMP & HORN
| Index No. | Part No. | Description | Models | Obselete |
|---|---|---|---|---|
| 1 | AA0406.8CSS | SCREW (4) | ALL | Mar 2013 |
| 2 | AA0506.1CZ | BOLT | ALL | |
| 3 | BA0412.6 | WASHER (4) | ALL | Oct 2013 |
| 4 | BA0510.4Z | LOCKWASHER | ALL | Feb 2010 |
| 5 | DA0500.2CZ | LOCKNUT | ALL | |
| 6 | 64511-63 | WELL NUT (4) | ALL | |
| 7 | Y0412.4 | SCREW, adjuster, w/ clip (2) | ALL | Feb 2010 |
| 8 | Y0410.4 | SPRING, alignment | ALL | Feb 2010 |
| 9 | M0670.8A | HEADLAMP HOUSING | ALL | Nov 2014 |
| 10 | Y0400.4 | HEADLAMP ASSEMBLY, complete | ALL | Feb 2010 |
| 11 | 67910-94Y | SEALED BEAM UNIT (use Y0400.4) | ALL | |
| 12 | 69043-83A | HORN ASSEMBLY | ALL | |
| 13 | Y0431.A | SEALED BEAM UNIT, left dip (Japan, UK) | ALL | Feb 2010 |