1995-1996 Buell S2/S2T Thunderbolt Parts Catalog
1996
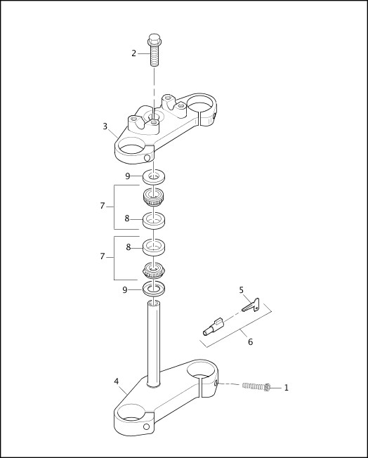
STEERING HEAD
| Index No. | Part No. | Description | Models | Obselete |
|---|---|---|---|---|
| 1 | AA0714.2CZ | SCREW (5) | ALL | Nov 2014 |
| 2 | 45458-94Y | BOLT (used on 1995 S2 models prior to VIN 0817) | S2 1995 | |
| 3591Y | BOLT (used on 1995 S2 models VIN 0817 and after) | ALL | Apr 2010 |
|
| 3 | J0105.8Q | TRIPLE CLAMP, upper | ALL | Feb 2010 |
| 4 | J0106.8A | TRIPLE CLAMP ASSEMBLY, lower, w/ stem | ALL | Apr 2013 |
| 5 | 48140-84A | KEY, steering head lock (specify key code) | ALL | |
| 6 | 48140-84A | STEERING HEAD LOCK ASSEMBLY, w/ key | ALL | |
| 7 | 48300-60 | ROLLER BEARING, w/ cup (2) | ALL | |
| 8 | 48315-60 | BEARING CUP (2) | ALL | |
| 9 | 48361-80 | DUST SHIELD (2) | ALL |